• 手機版多功能動平衡儀
  • 云診斷
  • 現場動平衡儀
當前位置 >首頁 >新聞資訊 > 離心風機的分類及工作過程
離心風機的分類及工作過程
作者:龍城國際  時間:2019-09-04  點擊率:2262


離心風機的分類及工作過程



離心風機的分類(按風壓大小分類)


1、? 高壓離心風機

2、? 中壓離心風機

3、? 低壓離心風機

4、? 高壓 軸流風機

5、? 低壓 軸流風機



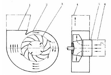
離心風機的工作過程


風機主要由葉輪、進風口及蝸殼等組成。葉輪轉動時,葉道內的空氣,受離心力作用而向外運動,在葉輪中央產生真空度,因而從進風口軸向吸入空氣。吸入的空氣在葉輪入口處折轉90°后,進入葉道,在葉片作用下獲得動能和壓能。從葉道甩出的氣流進入蝸殼,經集中、導流后,從出風口排出。


離心風機的工作過程

(圖片來源于網絡)




北京時代龍城科技有限責任公司

www.wangluoxinwen.cn


上一頁
下一頁
熱門推薦